老板邮局VIP专线:
400-887-2888 / 0592-2958885
老板邮局销售专线:
400-887-3888
电子邮箱:
VIP@laobanmail.com
购买产品
提交购买意向老板邮局日志统计 全面把关邮箱动态
作者:CNET科技资讯网 文章来源:CNET科技资讯网 浏览数:1001 发布日期:2015-03-27
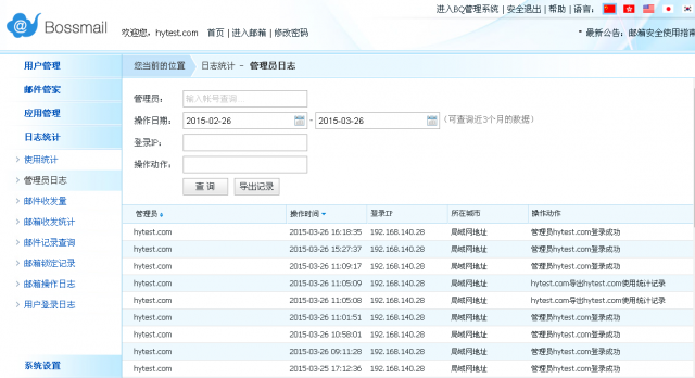
企业邮箱是每个员工都会使用的日常工具,如果没有任何层级的把关,一旦发生任何问题就很难追踪。老板邮局企业邮箱的“日志统计”功能,可以查询到邮局管理端和邮箱用户端的操作日志,有效地帮助企业精确记录管理员的操作记录、邮件收发流量统计、员工登陆IP以及员工使用邮箱的具体动态等,一旦数据产生非正常的波动,企业邮箱管理员就可以及时发现问题、解决问题。 用户邮箱操作日志 老板邮局企业邮箱的日志统计记录了整个邮箱域的“使用统计”,根据账号、部门、创建日期、邮箱空间、网盘容量、最后登陆时间等显示所有用户的使用状态,查询结果还可以直接导出表格形式加以保存。 另外,管理员通过老板邮局的“用户登录日志”可查询到近3个月来邮箱用户的登录时间、登录IP和城市以及登录方式(IMAP、SMTP、POP、WEB)等数据,以便企业对员工邮箱的监管及对用户数据统计分析。 不仅如此,管理员还可以分析统计用户邮箱中邮件的收发流量、数量和总数,监控邮箱邮件的收、发、删记录,并可对已锁定的邮箱进行解除锁定,这些监控用户邮箱操作行为的日志,便于管理者及时发现异常的操作。 管理员操作日志 除了可以监控邮件用户端的操作行为,老板邮局企业邮箱的管理员的操作流水也都会在此记录下来,包括操作时间、登录IP、所在城市以及新增或删除帐号等操作动作,通过查询管理员日志,便可系统客观公正的记录管理员在后台进行的一切操作,以便需要时查证。 信息安全一直都是企业邮箱的重中之重,因此老板邮局企业邮箱对内、对外的每一道防线都严防死守,以确保企业用户重要的邮件信息不被泄露。 来源链接: http://linux.ccidnet.com/art/302/20150327/5800853_1.html http://www.cnetnews.com.cn/2015/0327/3048936.shtml http://www.pcpop.com/view/1/1083/1083781.shtml http://mobile.chinabyte.com/229/13311729.shtml 



